Bonjour,
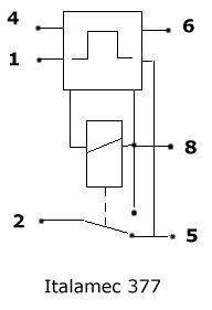
J'ai un relais automobile => 12VDC type Italamec 377 dont le schéma est le suivant (voir le lien)
http://forums.futura-sciences.com/at...8&d=1149057401
Quelqu'un peut-il me dire s'il s'agit d'un relais bistable et si oui comment de brancher ?
-----


