Bonjour à tous,
Je recherche une personne qui maitrise les alimentations, car j'ai une alimentation datant de 1972... Elle provient d'un synthétiseur... Bien sur j'ai des photos de celle ci...
Merci à tous
-----

Bonjour à tous,
Je recherche une personne qui maitrise les alimentations, car j'ai une alimentation datant de 1972... Elle provient d'un synthétiseur... Bien sur j'ai des photos de celle ci...
Merci à tous
Bonjour Sax78 et tout le groupe
Tous les lecteurs du forum connaissent les alimentations y compris celles de la "préhistoire". (Je parle des lecteurs, pas des questionneurs).
Quelle est la question?
Elle ne fonctionne pas, j'ai changé les condensateurs vu qu'il date de sa fabrication... Mais rien
Elle ne fonctionne pas, j'ai changé les condensateurs vu qu'il date de sa fabrication... Mais rien
Les deux cosses sur le circuit inférieur devraient donner 12V, j'ai 23V... Ceux du circuit supérieur devrait donner quelque chose, mais j'ai 0V
De plus la cathode du la diode qui est monté sur la plaque en alu a sauté, donc je ne sais pas ou il va... Je ne l'ai pas connecté même si je pense savoir ou il doit aller car je ne veux pas endommager quelque chose
Si il y a un lecteur habitant en Ile de France, je peux bien sur me déplacer...
Saurais-tu retracer le schéma ?
L'électronique c'est comme le violon. Soit on joue juste, soit on joue tzigane . . .
Non malheureusement... Si j'aurais pu j'aurais pu reconnecté la cathode et j'aurais pu mieux comprendre le soucis...
Merci pour cette question dans tous les cas
Bonjour
modèle exact du synthé ? qu'on trouve le schéma..
J'ai déjà passé du temps sur internet pour le retrouver, sinon c'est un Welson Condor
Je pense que cette panne vient de la cathode qui n'est pas connecté à la carte supérieur, car les deux cosses de la carte inférieur indique 23V à vide au lieu des 12V, mais les points de contacts de la carte supérieur eux indique 0V... Je vais fais envoyer une photo du côté verso de la carte supérieur.
La voici
Et en voici une seconde....
L'anode sort de la carte inférieur et va sur la première photo, la cathode quant à elle va? Ont pourrais penser qu'elle va sur la cosse ou il y a le fil jaune, mais elle a sauté, donc je n'ai pas de confirmation à moins qu'elle va en dessous de la carte supérieur...
Bonjour,
C'est moi qui vois mal, ou bien il y a 7 fils qui se balladent ?
Et des photos avec une meilleure résolution seraient un plus
![]()
Ces fils ont été raccordés...Si en effet il ce baladerais il y aurait un soucis, le seul fil qui n'est pas connecté et celui de la cathode de la diode que l'on aperçoit sur la plaque...
Etait t'elle raccordé à l'origine sur le fil jaune venant de l'extérieur?
J'aimerais mettre des photos plus "nette" mais le site impose une taille de photo...
Si vous faites un clic droit (PC) ou Control Clic (Mac) cela va l'ouvrir sur un autre onglet de là vous pourrez l'agrandir sans trop de perte de résolution
500*400 pixels pour la plus grande, pas terrible. 88,8kio, le site doit accepter bien plus.
Quant à répondre si le "fil qui vient de l'extérieur" doit aller sur la cathode de la diode... un devin saurait peut-être.
Tu dois d'abord au moins prendre des mesures de tension par rapport au 0V
On peut essayer de refaire le schéma, mais il faut de bonnes photos du dessus et dessous des circuits imprimés.
Je vais voir pour la qualité des photos, Oui un devin le saurait (j'imagine...) Mais ou prendre les tensions? Je n'ai pas ces connaissances...
Au moins sur les + et - des ponts de diodes, qui n'apparaissent nulle part. Et repérer si le + ou le - est relié au 0V, qui devraut aussi être la masse.Mais ou prendre les tensions?
J'ai pu récupérer cette image de mauvaise qualité qui concerne un Welson Condor DUO.
En bas à droite, on aperçoit la partie alimentation avec ddu positif et du négatif. La diode étant seule et de puissance, ce serait la zener de la tension négative. Le radiateur doit être à la masse
![]()
Merci pour ce schéma, en effet sur les Condor Duo il y avait 3 ponts de diodes... Sur le Condor il y en a pas. Je vais refaire des photos de meilleures qualités, en PDF cela sera mieux qu'en JPEG car le site ne donne aucune indication pour le poids max... Juste comme ça certes j'avais fais des recherches en tapant Welson Condor et non Condor Duo, mais ou avez-vous trouvé ce schéma?
Sur une vente Ebay. Je crois qu'il y avait une autre page visible
J'ai contacté le vendeur à la fois en Français et aussi en Italien pour savoir si il aurait le schéma du Condor T... En attendant je vais tester différent format d'image pour ce site afin de trouver la meilleure qualité possible. Sur un autre point, je suis du 78 si vous connaissez une personnes de ce département cela serais plus facile... Enfin je pense.
Dans tous les cas merci à vous
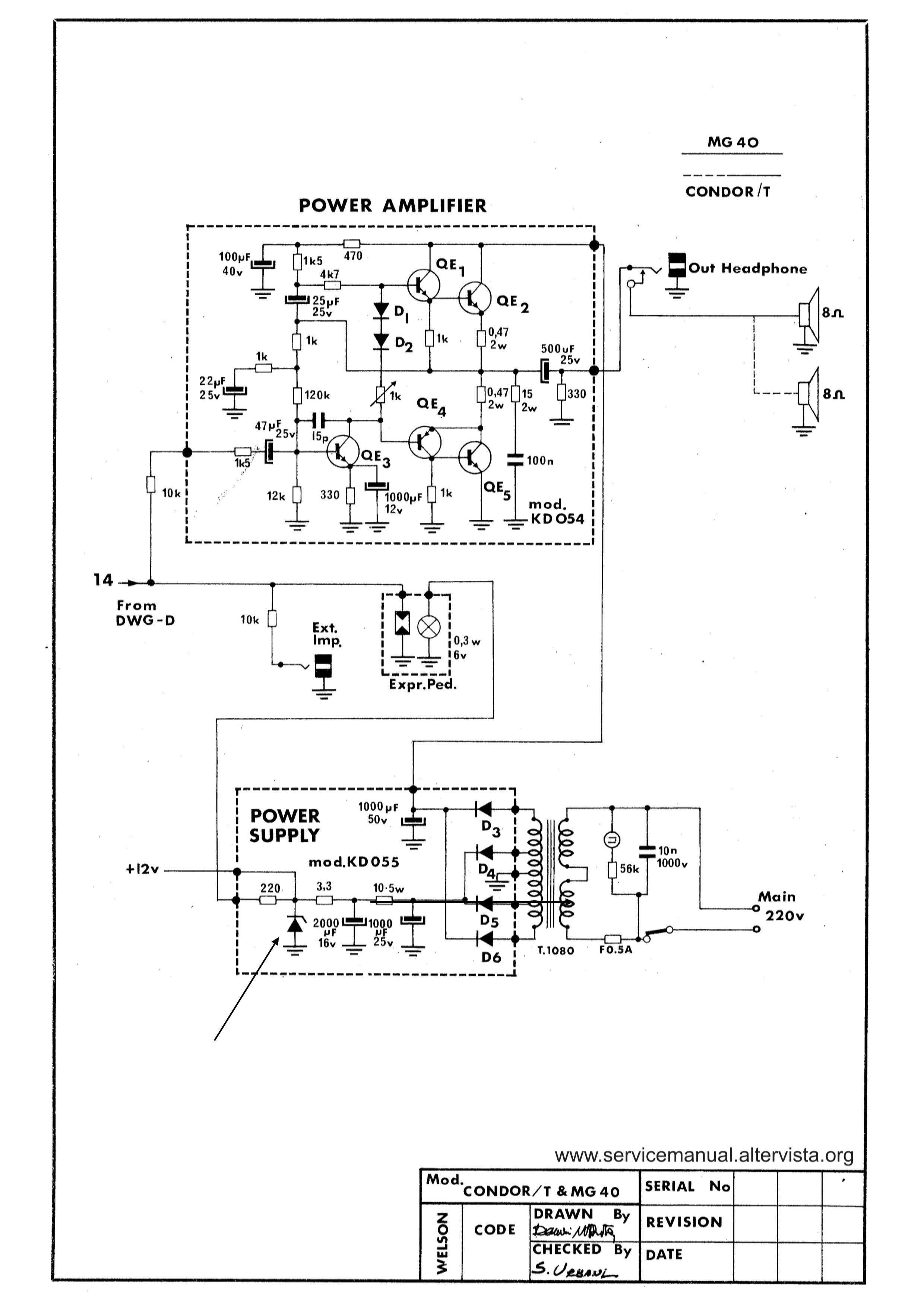
Donc suite à mes échanges avec le vendeur d'Ebay, sur l'Ebay Italien, il avait la documentation avec les schémas du Condor T, j'en ai fais l’acquisition. La cathode de la zener qui n'était plus branché allait sur le +12V de la cosses sur la carte inférieur... Je vais donc remonter tous cela aujourd'hui et voir si tout et ok. Je vous joins le schéma de cette alimentation.
Merci à vous de m'avoir mis sur cette piste, il a un site qui regorge de documentation, une vraie mine d'or...![]()
