Bonjour,
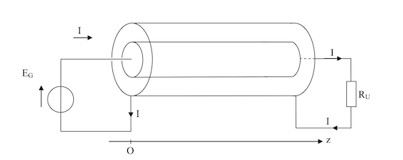
Je ne trouve pas de schéma montrant la circulation d'un courant dans un câble coaxial. Dans le cas d'une liaison d'un câble coaxial entre un générateur et un récepteur, le courant traverse bien le conducteur central du câble coaxial pour aller jusqu'au récepteur puis revient par le conducteur externe (la tresse) pour revenir au générateur ?
-----



